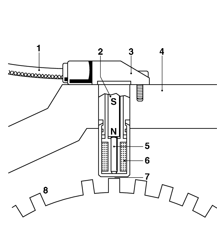
|    Merke: BOSCH   |    Kode: 0261210151   |    Tittel: Impulsgiver, veivaksel

Impulsgiver, veivaksel - 0261210151 BOSCH - 05066833AB, 09118368, 20513343

Bil: IVECO
Vekt  : 0,06 kg
Din pris 476,25 kr (381,00 kr Uten MVA 25%)
Lager: 0 stk.
Leverandør: Sjekk

EAN: 3165141970050