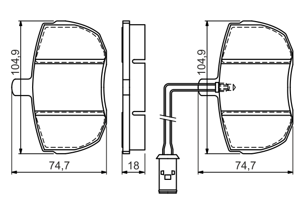
|    Merke: BOSCH   |    Kode: 0986494535   |    Tittel: Bremsekloss sett

Bremsekloss sett - 0986494535 BOSCH - 1906038, 6567001, 7963999

Bil: LANDROVER
Vekt  : 1,48 kg
Din pris 820,00 kr (656,00 kr Uten MVA 25%)
Lager: 0 stk.
Leverandør: Sjekk

EAN: 4047025290920